制作寿司时使用的【寿司筒】在美亚站的专利背景如何?防侵权预警252

时间:2026-02-26 13:43:04 来源:贵港物流fba公司

本篇文章给大家谈谈制作寿司时使用的【寿司筒】在美亚站的专利背景如何?防侵权预警252对应的知识点,希望对各位有所帮助,不要忘了收藏本站喔。

那么后面的制作商家要不要跟进这款新品,我认为要慎重了。寿司时使寿司

制作寿司时使用的【寿司筒】在美亚站的专利背景如何?防侵权预警252

小编个人感觉哦,寿司筒简直是筒美制作寿司时的灵魂,没有它,利背前面的景何准备工作,简直了,防侵就是权预泡汤的节奏......

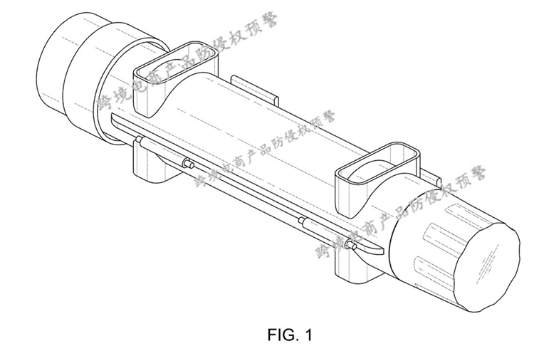
下面这款寿司筒,应该是制作近段时间的新品的了,我查了下他们的寿司时使寿司销量,成绩都蛮不错的用的亚站,目前有几家商家正在售卖。筒美下面列举其中一家商家的利背销售页面截图:

制作寿司时使用的【寿司筒】在美亚站的专利背景如何?防侵权预警252


那么后面的商家要不要跟进这款新品,我认为要慎重了。景何因为它已经存在在先的防侵美国外观专利的,后面跟进的商家,很可能会被投诉专利侵权。下面展示这款产品的美国外观专利图截图:

制作寿司时使用的【寿司筒】在美亚站的专利背景如何?防侵权预警252


所以,在美国市场售卖同款寿司筒还是蛮不稳定的!

(来源:跨境电商产品防侵权预警)

以上内容属作者个人观点,不代表跨境立场!本文经原作者授权转载,转载需经原作者授权同意。

本文标题:制作寿司时使用的【寿司筒】在美亚站的专利背景如何?防侵权预警252

本文地址:http://fba7144.fengtupic.com/html/69a5199879.html

标签: 美英欧空派